Könnt auch zu fest angezogen worden sein. Das ist ja die Mutter die alles zusamenhält, aber Werk ist die ein bisschen zu knapp angezogen, das verursacht das Klackern wenn man vorwärts und rückwärts rangiert.
Ich dachte, mir fliegt gleich was um die Ohren...
-
-
genau das gleiche ist mir bei meinem ersten auto passiert.. und deshalb lass ich mir bei jedem refenwechsel neue schrauben geben

das ganze passierte mir auf der autobahrn mit 120kmh und das war absolut nicht lustig! sei froh das dir nichts passiert ist. -
Zitat
Original von VENOM2099
genau das gleiche ist mir bei meinem ersten auto passiert.. und deshalb lass ich mir bei jedem refenwechsel neue schrauben geben
das ganze passierte mir auf der autobahrn mit 120kmh und das war absolut nicht lustig! sei froh das dir nichts passiert ist.Du redst jetzt aber von den Schrauben (Muttern) die das Rad befestigen??
Hier gehts um was anderes!
-
Soviel zum Thema: "Mutter kann sich lösen wenn sie nicht fest genug angezogen wurde"

Was sagt denn die Werkstatt dazu, die vorher noch diese Mutter fester angezogen hat? Will die nicht einen Teil des Schadens übernehmen? Freiwillig wahrscheinlich nicht, was? -
Zitat
Original von blafasel
Soviel zum Thema: "Mutter kann sich lösen wenn sie nicht fest genug angezogen wurde"

Was sagt denn die Werkstatt dazu, die vorher noch diese Mutter fester angezogen hat? Will die nicht einen Teil des Schadens übernehmen? Freiwillig wahrscheinlich nicht, was?Das gibts nicht mehr heutzutage das eine Werkstatt soetwas zugeben würde...

-
ich glaube hier wurde ein zu langes rohr verwendet
zum anziehen

zugeben niemals
-
- Offizieller Beitrag
Stehen doch alle heutezutage auf Drehmoment. Da waren 1000Nm schon beim Start vorhanden. Das reißt!

Denke auch... ganz klarer Fehler der Werkstatt, die da EXTRA mal besonders fest nachgezogen hat. Da würde ich mal anklopfen gehen und mit der Visitenkarte des Anwalts fuchteln.
-
Zitat
Original von Los Eblos
Stehen doch alle heutezutage auf Drehmoment. Da waren 1000Nm schon beim Start vorhanden. Das reißt!
Denke auch... ganz klarer Fehler der Werkstatt, die da EXTRA mal besonders fest nachgezogen hat. Da würde ich mal anklopfen gehen und mit der Visitenkarte des Anwalts fuchteln.
Nach FEST kommt AB!!!

-
Zitat
Original von mirko_mallorca
Nach FEST kommt AB!!!

und dann viel arbeit

-
Antriebswelle sauber abgeschert, sprich irgendwann Mutter zu fest angezogen.
Sieht eigentlich klassisch aus, nur sollte es nun wirklich nicht passieren..... -
- Offizieller Beitrag
Hab heute beim Aufziehen der Winterpellen mal geschaut. Meine Welle hinten hat ne Nut. Und die Mutter ist an der Stelle nach dem Festziehen eingekerbt worden. DAS soll sich verselbständigen können. Beängstigend. Mutter und Welle sind bei mir auch mit einem Lackstrich markiert.
Modell 2005. Bei den älteren nicht so?
-
Nö, kann sich nicht verselbstständigen. Aber es kann zu Spiel kommen, dann hilft nur auseinander nehmen und wieder zusammenbauen. Dabei die Mutter fest (Nicht zu fest wie man sieht) anziehen. Sichern ist natürlich ein auch muss.
-
Denkt ihr es ist gebrochen weil es zu fest angezogen war? Kann ich mir irgendwie ned vorstellen. Es war ja zuwenig angezogen aber ob er es auf genau 245Nm angezogen hat weiss ich halt auch ned. Wenn es bisschen mehr war sollte das ja ned gleich brechen. Die müssen auch gewisse Toleranzen miteinberechnen.
Denke es ist gebrochen weil das Kugellager klemmte.greetz
-
- Offizieller Beitrag
Hihi... ja und warum klemmte das?

-
Weil es defekt war?

-
... das lager kann den defekt bekommen, weil es "zu fest" angezogen war ... kugellager zieht man eben nicht "fest" ... machst du auch beim mountainbike vorbau nicht ...
ich denke, daß war gemeint ...
-
Halli hallo
Das Problem ist, wenn man die Mutter fettet, wird das Drehmoment erst viel später erreicht, und dann kann das passieren....
Das heisst das Radlager wird viel zu stark unter Vorspannung gesetzt...
Grussli Urs
-
hmm und das wo Honda bei Antriebswellenproblem den Werkstätten mitgeteilt hat, dass das Anzugsmoment der Radschraube zu erhöhen sei....

-
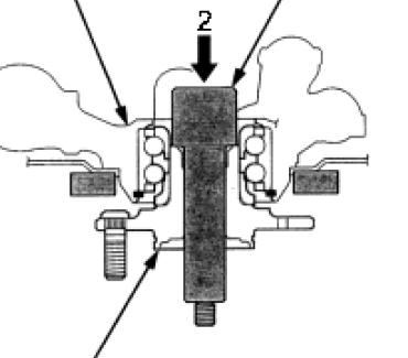
Anhand des Bruchbildes lässt sich Folgendes schließen:
Der Bruch sieht im Außenbereich leicht angerostet aus. Das legt den Schluss nahe, dass Anrisse im Gewindegrund infolge zu hoher Zug-/Druck- und Schubspannungen im Randfaserbereich beim Festziehen der Mutter entstanden sind. Das Radlager sollte vom Anzugsmoment unbeeindruckt bleiben, da es in der Regel an der Antriebsachse nicht über die Achsmutter hinsichtlich Spiel und Zustellung justiert wird. Diese Art der Radlagereinstellung findet man hingegen bei den Kegelrollenlagern der Vorderräder, wo durch die Positionierung der konischen Innen- und Außenringe zueinander die Lagerluft eingestellt werden kann, hier spielt das Anzugsmoment der Radlagermutter eine große Rolle, an der Hinterachse aber nicht.
Ausgehend von den Anrissen hat sich der Bruch nach innen ausgebreitet in Form eines Dauerbruches, man erkennt die Rastlinien der Ausbreitungsphasen als konzentrische "Jahresringe". Der Dauerbruch offenbart sich durch das seidenmatte Schimmern der - in Folge der Reibung aufeinander - relativ glattgeschliffenen Bruchflächen. Nachdem nur noch ein kleiner tragender Restquerschnitt vorhanden war, ist dieser abrupt durch einen Gewaltbruch abgebrochen, weil er den Betriebskräften nicht mehr standhalten konnte. Die Gewaltbruchfläche am Gipfel des Bruchhügels oben links ist charakteristisch grobkörnig und rau, ganz im Gegensatz zur glatten Dauerbruchfläche.Fazit: Das Gewinde ist abgerissen infolge eines Vorschadens, der sich stetig ausgebreitet hat und schließlich zum Abriss führte. Der Vorschaden ist vermutlich durch Überbeanspruchung entstanden. Die Überbeanspruchung kann bei zu starkem Anziehen der Mutter entstanden sein oder bei Kollisionen des Hinterrades mit Hindernissen.
Ist aber nur letztlich meine Meinung ...

Gruß Roland
-
Roland, das Werkstatthandbuch sagt was anderes. An der Hinterachse wird das Lagerspiel anscheinend doch über die Mutter und deren Anzugsmoment eingestellt. Dort sind 2 Lager. Das eine liegt an der Radnabe, bzw. der Mutter an, das andere an der Antriebswelle. Somit werden durch Anziehen der Antriebswellenmutter die beiden Lager zueinander gedrückt.
Das der Zapfen durch 245 Nm Anzugsmoment abreisst halte ich für äusserst unwahrscheinlich. Da müssen ganz andere Kräfte wirken. Ausserdem ist der Zapfen abgeschert, d.h. durch Torsion zerstört worden. Eine Vorschädigung durch Zugbelastung kann ich nirgendwo sehen.Meine erste spontane Vermutung scheint sich zu bestätigen: die Werkstatt hat die Mutter mit dem Schlagschrauber angeknallt und danach noch mit dem Drehmomentschlüssel auf 245 Nm "überprüft".

Durch das Anknallen wurde das vorher wohl schon verschlissene Lager komplett verblockt, so dass es irgendwann heisslief und zerstört wurde. Das hat dann blockiert und dadurch die Welle abgeschert. -


